Product Summary
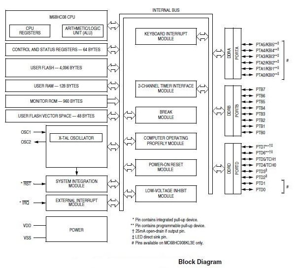
The MC908JL16CFJE is a member of the low-cost, high-performance M68HC08 Family of 8-bit microcontroller units (MCUs). The MC908JL16CFJE is based on the customer-specified integrated circuit (CSIC) design strategy. All MCUs in the family use the enhanced M68HC08 central processor unit (CPU08) and are available with a variety of modules, memory sizes and types, and package types.
Parametrics
MC908JL16CFJE absolute maximum ratings:(1)Supply voltage, VDD: –0.3V to +6.0V; (2)Input voltage, VIN: VSS–0.3 to VDD +0.3V; (3)Mode entry voltage, IRQ pin, VTSTL: VSS–0.3 to +8.5V; (4)Maximum current per pin excluding VDD and VSS, I: ±25mA; (5)Storage temperature, TSTG: –55℃ to +150℃; (6)Maximum current out of VSS, IMVSS: 100mA; (7)Maximum current into VDD, IMVDD: 100mA.
Features
MC908JL16CFJE features:(1)Object code fully upward-compatible with M68HC05 Family; (2)16-bit stack pointer with stack manipulation instructions; (3)16-bit index register with x-register manipulation instructions; (4)8-MHz CPU internal bus frequency; (5)64-Kbyte program/data memory space; (6)16 addressing modes; (7)Memory-to-memory data moves without using accumulator; (8)Fast 8-bit by 8-bit multiply and 16-bit by 8-bit divide instructions; (9)Enhanced binary-coded decimal (BCD) data handling; (10)Modular architecture with expandable internal bus definition for extension of addressing range beyond 64 Kbytes; (11)Low-power stop and wait modes.
Diagrams

| Image | Part No | Mfg | Description | ![]() |
Pricing (USD) |
Quantity | ||||||||||||
|---|---|---|---|---|---|---|---|---|---|---|---|---|---|---|---|---|---|---|
![]() |
![]() MC908JL16CFJE |
![]() Freescale Semiconductor |
![]() 8-bit Microcontrollers (MCU) MCU 16K FLASH |
![]() Data Sheet |
![]()
|
|
||||||||||||
![]() |
![]() MC908JL16CFJER |
![]() Freescale Semiconductor |
![]() 8-bit Microcontrollers (MCU) MCU 16K FLASH |
![]() Data Sheet |
![]()
|
|
||||||||||||
(China (Mainland))









