Product Summary
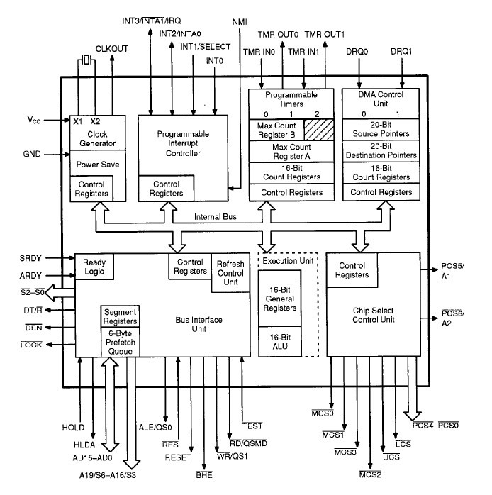
The N80C188XL-20 is a CMOS high-intergration microprocessor. It has features that are new to the N80C188XL-20 family, which include a DRAM refresh control unit, and power save mode. When used in "compatible" mode, the N80C186-16 is 100% pin-for-pin compatible with the NMOS N80C188XL-20. The enhanced mode of operation allows the full feature set of the N80C188XL-20 to be used. The N80C188XL-20 is upward compatible with N80C188XL-20 software and fully compatible with N80C188XL-20 software.
Parametrics
N80C188XL-20 maximum ratings: (1)Ambient temperature under bias commercial: 0 to 70℃; (2)Industrial: -40 to 85℃; (3)Storage temperature: -65 to 150℃; (4)Voltage on any pin with: -1.0 to 7.0V; (5)Package power dissipation: 1W.
Features
N80C188XL-20 features: (1)Operation modes include; (2)Intergrated feature set; (3)Available in 25MHz, 20MHz, 16MHz, 12.5MHz and 10MHz versions; (4)Direct addressing capability to 1Mbyte of memory and 64 Kbyte I/O; (5)Fully stactic CMOS design; (6)Completely object code compatible with all existing 8086/8088 software. Has ten additional instructions over 8086/8088.
Diagrams

(China (Mainland))






