Product Summary
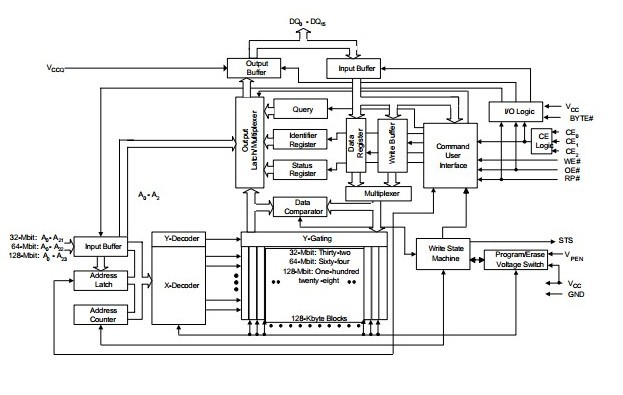
The JS28F128P30T85 is a flash memory which provides improved mainstream performance with enhanced security features, taking advantage of the high quality and reliability of the NOR-based Intel 0.13um process technology. Offered in 128-Mbit (16-Mbyte), 64-Mbit, and 32-Mbit densities, the Numonyx Embedded Flash Memory (J3 V. D) device brings reliable, low-voltage capability (3 V read, program, and erase) with high speed, low-power operation.
Parametrics
JS28F128P30T85 absolute maximum ratings: (1)Temperature under Bias Expanded (TA, Ambient):–40 to +85 °C; (2)Storage Temperature –65 to +125 °C ; (3)VCC Voltage:–2.0 to +5.6 V ; (4)VCCQ :–2.0 to +5.6 V ; (5)Voltage on any input/output signal (except VCC, VCCQ):–2.0 to VCCQ (max) + 2.0 V; (6)ISH Output Short Circuit Current:100 mA.
Features
JS28F128P30T85 features: (1)Architecture:High-density symmetrical 128-Kbyte blocks;256 Mbit (256 blocks);128 Mbit (128 blocks);64 Mbit (64 blocks);32 Mbit (32 blocks); (2)Performance:75 ns Initial Access Speed (128/64/32 -Mbit densities):95 ns Initial Access Speed (256 Mbit only);25 ns 8-word and 4-word Asynchronous page-mode reads;32-Byte Write buffer;4 μs per Byte Effective programming time; (3)System Voltage and Power:VCC = 2.7 V to 3.6 V;VCCQ = 2.7 V to 3.6 V; (4)Packaging:56-Lead TSOP package (32, 64, 128 Mbit only);64-Ball Numonyx Easy BGA package (32, 42, 128 and 256 Mbit); (5)Security:Enhanced security options for code protection:128-bit Protection Register;64-bit Unique device identifier;64-bit User-programmable OTP cells; Absolute protection with VPEN = GND;Individual block locking;Block erase/program lockout during power transitions; (6)Software:Program and erase suspend support;Flash Data Integrator (FDI), Common Flash Interface (CFI) Compatible; (7)Quality and Reliability:Operating temperature: -40 °C to +85 °C;100K Minimum erase cycles per block;0.13 μm ETOX Process.
Diagrams

| Image | Part No | Mfg | Description | ![]() |
Pricing (USD) |
Quantity | ||||||
|---|---|---|---|---|---|---|---|---|---|---|---|---|
![]() |
![]() JS28F128P30T85A |
![]() |
![]() IC FLASH 128MBIT 85NS 56TSOP |
![]() Data Sheet |
![]() Negotiable |
|
||||||
| Image | Part No | Mfg | Description | ![]() |
Pricing (USD) |
Quantity | ||||||
![]() |
![]() JS28F00AM29EWH0 |
![]() |
![]() IC FLASH 1GBIT 110NS 56TSOP |
![]() Data Sheet |
![]() Negotiable |
|
||||||
![]() |
![]() JS28F00AM29EWHA |
![]() |
![]() IC FLASH 1GBIT M29EW 56TSOP |
![]() Data Sheet |
![]()
|
|
||||||
![]() |
![]() JS28F00AM29EWL0 |
![]() |
![]() IC FLASH 1GBIT 110NS 56TSOP |
![]() Data Sheet |
![]() Negotiable |
|
||||||
![]() |
![]() JS28F00AM29EWLA |
![]() |
![]() IC FLASH 1GBIT M29EW 56TSOP |
![]() Data Sheet |
![]()
|
|
||||||
![]() |
![]() JS28F00AP30BFA |
![]() |
![]() IC FLASH 1GBIT P30 65NM 56TSOP |
![]() Data Sheet |
![]()
|
|
||||||
![]() |
![]() JS28F00AP30EF0 |
![]() |
![]() IC FLASH 1GBIT 110NS 56TSOP |
![]() Data Sheet |
![]() Negotiable |
|
||||||
(China (Mainland))









